發布于:2019/8/22 9:24:02 點擊量:233
在自動化程度較高的化工控制系統,調節閥作為自動調節系統的終端執行裝置,接受控制信號實現對化工流程的調節,它的動作穩定性直接關系著調節系統的質量。
1 調節閥的選型與安裝
1.1 調節閥選型
項目設計時需根據使用場合的重要性合理選擇調節閥廠商,向調節閥廠商提供準確的工藝參數,如介質、溫度、壓力、閥前后壓差、流量特性、管道口徑、作用方式等。根據已知的流體條件,計算出必要的KV值,選取合適的調節閥口徑,在安裝中,連接調節閥的管道可以使用大小頭做縮徑、擴徑處理。
1.2 調節閥安裝
首先,調節閥的安裝應遵循國家有關標準,按照設計圖紙和設計文件的規定嚴格執行,并確保調節閥的安全性。
1.2.1 安裝旁路閥與放泄閥
調節閥在使用過程中難免會出現些問題,為能及時處理調節閥故障隱患,在工藝管路上一定要增加旁路閥與前后截止閥,以便能將調節閥從工藝系統中切除處理。而在切斷管路時管內不可避免的積有帶壓流體,因此必須在調節閥前后裝設放泄閥,如圖1。

圖1 調節閥組示意圖
1.2.2 安裝調節閥的注意事項
(1)調節閥的安裝位置應滿足工藝流程設計的要求,并應盡可能靠近控制系統中的一次測量元件,以提高調節閥的控制精度;
(2)調節閥應布置在地面或平臺上,定位器應朝向過道,便于操作和維修;
(3)調節閥應正立垂直安裝于水平管道上,特殊情況下方可傾斜安裝,但須加支撐;
(4)調節閥組在安裝時應充分考慮拆裝方便,防止安裝以后無法拆卸;
(5)介質中含有固體顆粒的管道上的調節閥應與旁路閥布置在同一個平面上或將旁路閥布置在調節閥的下方;
(6)調節閥應安裝在環境溫度不高于60℃,不低于-40℃的地方,并遠離振動源。
2 調節閥故障原因分析處理及實例
下面總結分析影響調節閥安全運行的因素及其對策,以及金赤公司已出現故障并處理的部分調節閥實例。
2.1 卡堵
調節閥經常出現的問題是卡堵,常出現在新系統投運和大修投運初期,由于管道內焊渣、鐵銹等在節流口、導向部位造成堵塞使介質流通不暢。一般故障處理:可迅速開、關副線或調節閥,讓臟物從副線或調節閥處被介質沖跑。另一辦法用管鉗夾緊閥桿,在外加信號壓力情況下,正反用力旋動閥桿,讓閥芯閃過卡處。若不能湊效則增加氣源壓力增加驅動功率反復上下移動幾次,即可解決問題。如若仍不動作,則需解體處理。
金赤公司新投運的系統,出現過很多類似現象,最典型的就是CASEL軌道球閥卡塞開不到位,增加氣源壓力到0.6MPa也沒有完全打開,最終解體檢修發現閥門軌道桿已被磨損得很粗糙,打磨光滑后,正常投入使用。
2.2 閥門定位器故障
隨著產品的更新換代,機械式定位器逐漸被淘汰,現在的調節閥基本采用智能閥門定位器。公司新型煤化工項目,調節閥基本全部采用智能定位器,使用最多的是西門子PS2系列、FisherDVC2000系列、DVC6000系列等。
在使用過程中發現,智能定位器雖然方便易用,但是電子集成度太高,雖為模塊化設計,但是單獨采購某一模塊的價格和一個定位器價格差不多,還不如整體更換,普通儀修人員基本沒有維修的可能。因此在安裝與使用過程中必須注意避震、防止太陽直射造成溫度過高燒壞電子元件,儀表空氣必須潔凈,以保證定位器能穩定、長期正常使用。
2.3 閥芯、閥座變形泄漏
閥芯、閥座泄漏的主要原因是由于調節閥生產過程中的鑄造或鍛造缺陷可導致腐蝕的加劇。而腐蝕介質的通過,流體介質的沖刷也可造成調節閥的泄漏。腐蝕主要以侵蝕或氣蝕的形式存在。當腐蝕性介質在通過調節閥時,便會產生對閥芯、閥座材料的侵蝕和沖擊使閥芯、閥座成橢圓形或其他形狀,隨著時間的推移,導致閥芯、閥座不貼合,存在間隙,關不嚴發生泄漏。
解決方法:關鍵把好閥芯、閥座的材質的選型關、質量關。選擇耐腐蝕材料,對麻點、沙眼等缺陷的產品堅決剔除。若閥芯、閥座變形不太嚴重,可經過細砂紙研磨,消除痕跡,提高密封光潔度,以提高密封性能。若損壞嚴重,則應更換新閥。
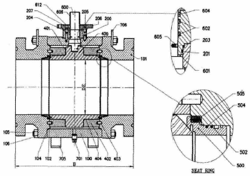
金赤公司使用的DAFRAM球閥在使用過程中發現內漏嚴重,導致合成系統在臨時停車時保不住壓力,對生產系統損失很大。圖2為DAFRAM球閥結構圖,硬密封球閥是雙向密封,只要閥芯閥座接觸良好就應該密封的很好,初步分析為圖2圓圈中所示的505彈簧部件失效,造成閥座不能與閥芯緊密貼合而泄漏。

圖2 DAFRAM球閥結構圖
拆卸開以后發現,管道有銹蝕現象,閥座直接卡死,將閥座取出后,銹蝕還是很嚴重的(見圖3),隨后對銹蝕部分進行打磨清洗。

圖3 DAFRAM球閥銹蝕情況
處理完成后裝回閥座,閥座明顯凸出,用力按下后會自動彈出,說明彈簧恢復作用,回裝以后,正常運行至今無問題。分析原因為初期管道酸洗后未清洗干凈,造成閥座處結垢銹蝕后卡死閥座所致。
圖4為Fisher籠式調節閥的套筒,可以看出套筒上的小孔已經沖穿,調節閥此時已經基本沒有調節流量的能力。在拆卸這個調節閥時,套筒小孔里有很多焊渣堵卡在里面,造成部分小孔不能流通,部分小孔又因流量太大造成不可修復的沖蝕,因此這個調節閥只能對閥內件進行整體更換。我們在使用籠式調節閥時,一定要提高介質的潔凈度,以延長調節閥的使用壽命。

圖4 Fisher籠式調節閥的套筒
2.4 泄漏
2.4.1 閥內漏
閥桿長短不適。氣開閥,閥桿太長閥桿向上的(或向下)的距離不夠,造成閥芯和閥座之間有空隙,不能充分接觸,導致關不嚴而內漏。同樣氣關閥閥桿太短,導致閥芯和閥座之間有空隙,不能充分接觸,導致關不嚴而內漏。
解決辦法:縮短(或延長)調節閥閥桿使其長度合適,不再內漏。
2.4.2 填料泄漏
填料裝入填料函以后,經壓蓋對其施加軸向壓力。由于填料的塑性,使其產生徑向力,并與閥桿緊密接觸,但這種接觸并不是非常均勻的。有些部位接觸的松,有些部位接觸的緊,甚至有些部位沒有接觸上。在使用過程中,隨著高溫、高壓和滲透性強的流體介質的影響,調節閥填料函也是發生泄漏現象較多的部位。造成填料泄漏的主要原因是界面泄漏,對于用紡織品材質制作的填料還會出現滲漏(壓力介質沿著填料纖維之間的微小縫隙向外泄漏)。閥桿與填料間的界面泄漏是由于填料性能因長時間在壓力環境下而逐漸衰減,填料自身老化等原因引起的,這時壓力介質就會沿著填料與閥桿之間的接觸間隙向外泄漏。
解決對策:為使填料裝入方便,在填料函頂端倒角,在填料函底部放置耐沖蝕的間隙較小的金屬保護環(與填料的接觸面不能為斜面),以防止填料被介質壓力推出。填料函各部與填料接觸部分的金屬表面要精加工,以提高表面光潔度,減少填料磨損。填料選用柔性石墨,因其具有氣密性好,摩擦力小,長期使用后變化小,維修容易,壓蓋螺栓重新擰緊后摩擦力不發生變化,耐壓性和耐熱性良好,不受內部介質的侵蝕,與閥桿和填料函內部接觸的金屬不發生點蝕或腐蝕。這樣,有效地保護了閥桿填料函的密封,保證了填料密封的可靠性和長期性。
3 結束語
應認真對待調節閥的選型與安裝,在使用過程中對調節閥故障原因準確分析,采取適當的處理、改進辦法,將大大提高調節閥的利用率,降低儀表故障率,對生產效率和經濟效益的提高以及能源消耗的降低都有著重要作用,可有效提高調節系統的質量,從而確保生產裝置長周期運行。
本文鏈接:http://m.tonson.net.cn/news/detail/20190822092402.html
版權所有 © 自力式壓力調節閥-氣動調節閥-電動調節閥-氮封閥廠家 浙ICP備18052799號-2